Click to enlarge

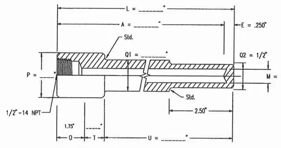
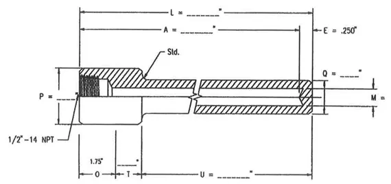
W Socket Weld Thermowell

Thermowells are manufactured from drilled bar stock using various materials, alloys and coatings to protect against corrosive mediums.

Configure Your Part
Part Number:
W00

Minimum Order Quantity is 1
Quantity:
Configure Your Cookies Settings
+   Functional (Non-Optional)    Always Active
+   Performance   
+   Advertising