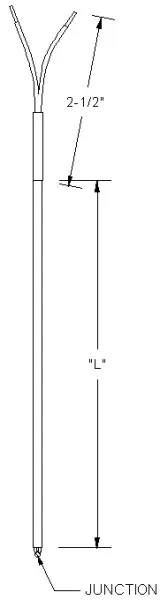
WT Style Flexible Wire Thermocouple

Click to enlarge
 (6.72/ea)
Total Price: $6.72
Quantity:

Flexible and responsive, flexible wire thermocouples satisfy many general purpose temperature appliciatons.

Configure Your Cookies Settings
+   Functional (Non-Optional)    Always Active
+   Performance   
+   Advertising